PIP Camera 是一套很好玩的攝影 App,它能夠提供不同的範本,數目十分多,而且效果很特別,讓你創作出很美的圖!當中的管本很多也是以往要 Photoshop 才能弄出來,現時只要用手機一拍即可實現。用家更可決定前面的主體景物以及背景使用的特別效果,實在相當出色。
2012年12月27日 星期四
更省電!下一代 iPhone 或用 Sharp IGZO 新螢幕!
早前有指 Apple 停止向 Sharp 下訂單,原因是 iPad 4 銷量未如預期,加上現時 Sharp 只是向 Apple 供應 iPad 4 螢幕面板,因此深受打擊。不過,Digitimes 的報導指出 Apple 正在跟 Sharp 談 IGZO 螢幕能否在其他 iOS 裝置上使用。現時主要是看 Sharp 的產能可否滿足 Apple 的出貨量。事實上,IGZO 螢幕最大的優點是能夠更省電,估計可以省 10 份 1 至 5 份 1 的電力!
拍案叫絕!iPhone 5 的秘密…超强概念影片!
iPhone 5 看似沒什麼特別,但有人弄了一套很多的概念影片,當中可以將 iPhone 5 變成一個集投影功能及虛擬鍵盤於一身的裝置。投射出來的螢幕更是運行 OS X,跟 Mac 機沒有分別。當然,有點科幻成份,但說不定數年後會有機會出現。
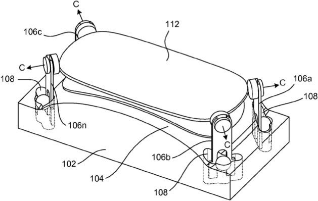
蘋果彎曲玻璃新技術未來將應用在更廣範圍!
蘋果早前已經表示對彎曲玻璃感興趣,如今已經獲得相關專利並表示未來將會在一部細小的 iPhone 中配備強勁的屏幕 (下圖為蘋果在 2009 年提交的專利原型圖),新技術將降低了製造的複雜性、成本、時間及環境污染,更合乎成本效益。三星已經為其新智能手機配備彎曲玻璃,相信當蘋果真正推出時,又會引發出一連串的專利戰。除此之外,蘋果還表示專利技術不限用於小尺寸的裝置,將可以用在平板電腦、電腦顯示屏,甚至是電視機!
蘋果正在製造與iPhone 配合的智能手錶 或於明年上半年上市
來自供應鏈的消息指出,蘋果正在製造藍牙智能手錶,預計明年上半年上市。這款智能手錶採用的是1.5寸的OLED屏幕,消息稱這款產品將會配合iPhone 使用。
這款智能手錶將可以接聽電話,直接與iPhone的相連(藍牙?),甚至還能使用Siri,但是具體詳情並沒有透露太多。
第二天的免費禮物是…
;
第一天的禮物非常吸引,不知道大家滿不滿意,不過這次的禮物男性可能會非常喜歡,因為今次是運動類遊戲!
這個遊戲沒有低過★★★的評分,可見是一套不錯的遊戲!不賣關子了,它就是: Score! Classic Goals。小編差點就買了… 感謝 Apple!!!
根據上一次的經驗,這份禮物應該和香港、澳門、英國、加拿大、台灣等地區相同,小編還是很期待日本的禮物,想知道如何下載日本禮物?參考這篇教學吧!(今天日本的禮物是一樣的)
注意! 現時為止 “12 Days” 應用程式還是會顯示 Day 1 的禮物, 直到你的地區踏入 十二月二十七日!
App Store 回到過去?
App Store 員工正值假期, 就傳出有排行榜系統異常,連應用程式更新也有問題!
上線近五年的 App Store,發生罕見事故,據讀者反映,不單是香港 App Store 出現這情況,連台灣的 App Store 出現都這情況。App Store 排行榜回復到十月的狀態, 當時的 Youtube app 還是在榜首位置, 現在的 Google Map 以及 poke 就消失得無影無蹤, 在數天前顯示有應用程式需要更新,但到今天就表示所有的應用程式都是最新版本。總括而言, 整個 App Store 就回到十月初狀態,原因就不太清楚。
本站主動聯絡 App Store ,但到現時都沒有回應是否和系統問題有關,本站會密切留意最新消息,有最新情況會向大家報導。
最新消息: 排行榜已經恢復正常狀態, 但是軟體更新依舊表示所有的應用程式都是最新版本
【秘技】呼出多項隱藏的電話撥號功能!
早前筆者教過大家如何使用撥號功能呼出真正的 3G 訊號強弱,今天再教大家多個撥號的隱藏秘技!
*#06#
查詢裝置的 IMEI 碼 (每部裝置的獨一識別碼)
*#21#
查詢所有來電的啟用狀態 (包括語音、資料及傳真)
查詢裝置的 IMEI 碼 (每部裝置的獨一識別碼)
*#21#
查詢所有來電的啟用狀態 (包括語音、資料及傳真)
**21* (電話號碼) #
設定來電轉接到指定號碼 (如 **21*98765432#)
##21#
取消所有來電轉接
設定來電轉接到指定號碼 (如 **21*98765432#)
##21#
取消所有來電轉接
*#5005*7672#
查詢短訊中心號碼
*#5005*7672 (短訊中心號碼)#
設置一個新的短訊中心號碼
*#62#
查詢裝置在無訊號或關機的來電狀態
查詢短訊中心號碼
*#5005*7672 (短訊中心號碼)#
設置一個新的短訊中心號碼
*#62#
查詢裝置在無訊號或關機的來電狀態
iPad 4 銷情不好?Sharp 被 Apple 停訂單!
來自日本財經媒體 Diamond Online 的消息,Apple 停止向 Sharp 的 IGZO 面板下訂單!消息更指,在 11 月份該 IGZO 面板生產線已經停止再投放原料,11 月中旬更接近停工。消息指,iPad 4 銷量未如預期,代工廠的鴻海更出現庫存現像,估計 Apple 因此要調整產能,所以停止向 Sharp 下訂單。由於 Sharp 只是供應 iPad 4 面板,沒有供應給 iPad mini,所以大受影響。消息令 Sharp 的股價當天大跌 7.46%!
敵退我進?Nokia 準備推 Windows RT 平板?
有理由相信…Nokia 的 CEO 是 Microsoft 的「內應」…手機用 Windows Phone 令 Nokia 落後於人,現在 Nokia 竟然說要弄 Windows RT 10.1 吋平板。大家也知道 Windows RT 說不上是成功,現在 Nokia 看到 Surface 的成績不太好的情況下,也竟然說要推 Windows RT 平板!TheVerge 的消息指,Nokia 會在 2013 年初推這台 Windows RT 平板,將有 10.1 吋螢幕,可能會有 3G/4G LTE 支援。大家覺得 Nokia 的策略好像越來越愛向難度挑戰…而不是為公司爭取最佳回報…各大 PC 廠也對 Windows RT 抱保留態度,Nokia 真的要弄嗎?
[原創教學] 教你取得其他國家的禮物 !
iTunes 推出 12 DAYS 應用程式, 只要下載這個應用程式, 按一下程式內的連結, 就會得到 Apple 送的禮物, 可能是歌曲, 影片, 電影, 甚至是應用程式!
當然除了香港或台灣,日本這一次也有禮物贈送, GLAY 的專輯!! 這份禮物太好了!! 可惜我不是日本人…
不過不用羨慕他們, 因為只需要做幾個設定, 你也可以輕鬆取得!
如果想取得這份禮物, 只要擁有一個 日本 Apple ID 就可以了, 也在手機修改設定
首先登入 日本 Apple ID, 如果沒有可以按這個教學註冊
設定→一般→日期和時間, 時區設定為東京
設定→一般→國際設定,
地區格式: 日本
然後再次進入12 DAYS 你就會看到 不同的禮物, 不要忘記下載!!!
如果想取得美國的禮物, 把設定改為美國, 以及登入美國 Apple ID, 如此類推
完成後就可以還原
聖誕禮物!Flickr 送 Pro 版無限儲存空間!
Flickr 也來送禮給大家,用過 Flickr 的人也知,免費版他們設有很多限制,但這次他們送出了3個月無限儲存空間給大家,用戶可無限上載相片,容量不超過 50 MB 一幅。最重要就是讓你下載高解像度原相,除了相片更支援 HD 影片上載及播放。至於過了3個月後會怎樣?看來要花點時間查看才知。
人人有份!快來準備向 Apple 拿禮誕禮物!
每年聖誕後的 Boxing Day,Apple 也會推出 iTunes 12 Days of Gifts,26/12 開始會推出 12 份限時1天的禮物,連續 12 天。以往只有外國才有,不過今年終於香港及台灣用戶也可以透過這套名為 iTunes 12 Days of Gifts App 下載,實在很期待!
現場實景變模型!自拍移軸鏡相片/影片!
這套名為 TiltShift Effect 的 App 是一套內置移軸鏡效果的拍攝 App,所謂移軸鏡效果就是將焦距改變,不少人將這種效果視為「模型效果」,用了它你眼前的世界會有不一樣的感覺,相當好玩!這套 App 除了能拍相片,更可拍影片,實在相當實用好玩!不過,用戶必須使用 iOS 6 才可安裝。
iPad 5 真機曝光?或延用 iPad Mini 背殼設計!
昨日報導又是半年?iPad 5 或會在明年三月面世?,而今日日媒又透露了iPad 5的設計,iPad 5很有可能沿用iPad 5、iPad Mini 的氧極氧化鋁合金背殼,另外,音量鍵改用iPod touch 5G 的一體式設計,把音量鍵拉長成長方形,並且把厚度控制在9.4mm以下,整體來說會更像iPad Mini。
超強插件誕生!Auxo 完美豐富後台功能!
Auxo 的概念早前由外國人發佈到論壇上,它的超強功能立即吸引到無數網友轉載,如今這個概念已經被開發者真真正正編寫成一個插件了!在傳統的後台中 (應用程序切換器,雙 Click Home 鍵),我們只能夠調整音量大小,播放歌曲和查看及逐個 app 關閉,實在不足以滿足 iOS 用戶的需要,我們一起看看 Auxo 到底為我們帶來了什麼強勁的功能。
- 以全新卡片的方式來顯示後台程序,擺脫沉悶的佈局
- 一鍵關閉後台所有應用 (長按圖示),亦支援多點操作 (向下滑動程序即可關閉該應用),更設有智能程序,當你正在打開音樂 app 時,會詢問用戶是否需要一併關閉
- 功能快捷鍵,帶來了類似 SBSettings 的功能,在一個新頁面上顯示大部份設定中的常用功能,如調整亮度、 Wifi、數據、3G、定位及飛航模式等。
- 版面重新設計,在播放音樂頁面上,亦會顯示該歌曲的專輯封面
不知你看完之後有沒有心動的感覺?目前插件僅支援已越獄的 iOS 6用戶 (iPhone 3GS、iPhone 4及iPod touch 4),但插件作者表示目前亦在開發 iOS 5版本的 Auxo,預料下周上架;而 iPad 版本則到 2013 年初發佈。目前 Auxo 已經上架 Cydia BigBoss 源,售價為 1.99 美元。
回顧2012年 蘋果的5項重大改變
經過了2012年…在庫克帶領的蘋果改變了許多,現在就讓我們來回顧一下!
1.更新週期調為半年
這可能是The New iPad 用戶最氣的地方吧!才剛買沒多久,就發佈了iPad 4,這樣不僅失去了用戶,而且還會讓很多計劃兩年更新一次產品的用戶亂了手腳!
這可能是The New iPad 用戶最氣的地方吧!才剛買沒多久,就發佈了iPad 4,這樣不僅失去了用戶,而且還會讓很多計劃兩年更新一次產品的用戶亂了手腳!
2.蘋果地圖的缺失
升上iOS 6 之後,蘋果把Google Maps 換成了自家的地圖,然而,地圖的不完整性是眾人皆知的,追求完美的蘋果已經開始便的不完美了。
升上iOS 6 之後,蘋果把Google Maps 換成了自家的地圖,然而,地圖的不完整性是眾人皆知的,追求完美的蘋果已經開始便的不完美了。
3.螢幕尺寸的改變
雖然賈伯斯說:iPhone 螢幕3.5寸是最好、最經典的設計,然而庫克改變了這項設計,把iPhone 5 的螢幕提昇到4寸,雖然能滿足部分用戶,但是有一部分的用戶希望更大的,另一部分希望維持3.5寸。
雖然賈伯斯說:iPhone 螢幕3.5寸是最好、最經典的設計,然而庫克改變了這項設計,把iPhone 5 的螢幕提昇到4寸,雖然能滿足部分用戶,但是有一部分的用戶希望更大的,另一部分希望維持3.5寸。
4.進軍中階市場
iPad Mini 就是個最好例子,它運用普通的性能,較小的7.9寸螢幕,更低的價格,來取得中階消費者所期望的,而且,賣的還比原先預期的好,有望在今年賣出200萬台
iPad Mini 就是個最好例子,它運用普通的性能,較小的7.9寸螢幕,更低的價格,來取得中階消費者所期望的,而且,賣的還比原先預期的好,有望在今年賣出200萬台
5.iOS 6 更加嚴密 越獄消息少的可憐
大家還記得去年的iOS 5吧!它發佈到釋出完美越獄共花了兩個月,然而,今天9月開放下載的iOS 6 已經過了三個月了,還是沒有什麼重大越獄消息,甚至被評為防密系統最嚴格的程式,iOS 6.1測試版中,更修正了iOS 6的諸多漏洞,看來,iOS 6用戶想完美越獄可真謂難之又難!
大家還記得去年的iOS 5吧!它發佈到釋出完美越獄共花了兩個月,然而,今天9月開放下載的iOS 6 已經過了三個月了,還是沒有什麼重大越獄消息,甚至被評為防密系統最嚴格的程式,iOS 6.1測試版中,更修正了iOS 6的諸多漏洞,看來,iOS 6用戶想完美越獄可真謂難之又難!
2012年 科技大事回顧 (3) – Facebook
2012年即將終結, 今年, Facebook 發生不少事, Facebook for iOS 5.0, 收購 Instagram, iOS6 深度整合等 值得回顧一番。
07-02-2012
Facebook 會加入 Sponsored Stories(贊助文章),並展示在流動平台的 News Feed 中,概念有點像 Twitter 的 Promoted Tweets 一般。這些「廣告」會溶入你的 News Feed 之中,跟朋友的 Feed 混合在一起,看起上來不像廣告。
http://www.newmobilelife.com/2012/02/07/facebook-app-mobile-ads/
Facebook 會加入 Sponsored Stories(贊助文章),並展示在流動平台的 News Feed 中,概念有點像 Twitter 的 Promoted Tweets 一般。這些「廣告」會溶入你的 News Feed 之中,跟朋友的 Feed 混合在一起,看起上來不像廣告。
http://www.newmobilelife.com/2012/02/07/facebook-app-mobile-ads/
03-04-2012
Facebook 今天正式推出 4.1.1 版本,加入一些新功能:
Facebook 今天正式推出 4.1.1 版本,加入一些新功能:
1. 用戶在 Chat 中可選離線。
2. 修正 Profile 圖像顯示問題,現在所有人的圖示也會顯示出來。
3. Friend List 已包含所有朋友。
4. 早前出現相簿用戶名稱出錯的問題修正了。
5. 修正朋友 Like 了的 Page 不能顯示他們的 Profile 相片問題。
6. 朋友請求通知只會在你要求下才會啟用。
7. 為新 iPad 提供 Retina Display。
2. 修正 Profile 圖像顯示問題,現在所有人的圖示也會顯示出來。
3. Friend List 已包含所有朋友。
4. 早前出現相簿用戶名稱出錯的問題修正了。
5. 修正朋友 Like 了的 Page 不能顯示他們的 Profile 相片問題。
6. 朋友請求通知只會在你要求下才會啟用。
7. 為新 iPad 提供 Retina Display。
10-04-2012
Facebook 宣佈該公司有史以來最大型的收購,這次目標是 Instagram,收購價高達 10 億美元!
http://www.newmobilelife.com/2012/04/10/facebook-buy-instagram/
Facebook 宣佈該公司有史以來最大型的收購,這次目標是 Instagram,收購價高達 10 億美元!
http://www.newmobilelife.com/2012/04/10/facebook-buy-instagram/
Facebook 早前搬到全新的總部,想知道當中是怎樣?mashable 拍了一些相片,看看這些圖你應該會感受到它的「好玩」吧!
http://www.newmobilelife.com/2012/04/10/facebook-new-hq/
http://www.newmobilelife.com/2012/04/10/facebook-new-hq/
02-05-2012
有測試網站表示,新版支援了 iPhone 及 iPad,更重要的就是提供了全新的 Video Chat 功能!(還是沒有蹤影….)
http://www.newmobilelife.com/2012/05/02/facebook-messenger-video-chat/
有測試網站表示,新版支援了 iPhone 及 iPad,更重要的就是提供了全新的 Video Chat 功能!(還是沒有蹤影….)
http://www.newmobilelife.com/2012/05/02/facebook-messenger-video-chat/
25-05-2012
不少人也估計 Facebook 收購 Instagram 後必有動作,這次真的沒錯!Facebook 正式推出 Facebook Camerea App 了!你可以視它是 Instagram 的攝影功能結合 Facebook,但不止於此!以往用戶要上載大批相片也要逐幅選取,現在只要透過 Facebook Camera 即可以批次方式上載。選取相片後更可加入攝影特效及進行 Crop 圖,使你的相片感覺不一樣!
http://www.newmobilelife.com/2012/05/25/iphone-free-app-facebook-camera/
不少人也估計 Facebook 收購 Instagram 後必有動作,這次真的沒錯!Facebook 正式推出 Facebook Camerea App 了!你可以視它是 Instagram 的攝影功能結合 Facebook,但不止於此!以往用戶要上載大批相片也要逐幅選取,現在只要透過 Facebook Camera 即可以批次方式上載。選取相片後更可加入攝影特效及進行 Crop 圖,使你的相片感覺不一樣!
http://www.newmobilelife.com/2012/05/25/iphone-free-app-facebook-camera/
06-05-2012
Facebook Messenger 1.7 登場!重點在於加入了對方在輸入文字時自動顯示「輸入中」,它們看過了訊息與否。
http://www.newmobilelife.com/2012/05/06/facebook-messenger-update/
27-05-2012
CCTV 紀錄片《中國警察 4: 強警之路》中現出了 Facebook 創始人 Mark Zuckerberg 及其妻子(當時的女友)充當「路人甲」!
http://www.newmobilelife.com/2012/05/27/fb-father-cctv/
CCTV 紀錄片《中國警察 4: 強警之路》中現出了 Facebook 創始人 Mark Zuckerberg 及其妻子(當時的女友)充當「路人甲」!
http://www.newmobilelife.com/2012/05/27/fb-father-cctv/
04-06-2012
Apple 跟 Facebook 的工程師近日進行合作,估計是將 Facebook 功能深度整合於 iOS 6 之中。較早前,D10 會議之中 Apple CEO – Tim Cook 曾表示叫用家要等待 iOS 跟 FB 合作。
http://www.newmobilelife.com/2012/06/04/facebook-ios-6/
Apple 跟 Facebook 的工程師近日進行合作,估計是將 Facebook 功能深度整合於 iOS 6 之中。較早前,D10 會議之中 Apple CEO – Tim Cook 曾表示叫用家要等待 iOS 跟 FB 合作。
http://www.newmobilelife.com/2012/06/04/facebook-ios-6/
08-06-2012
Facebook 推出自家的 App Center! 它們的 App Center 收錄了 600 多套推介 App,當中包括 Draw Something、Nike+ GPS、Jetpack Joyride 等不同類型的應用。
http://www.newmobilelife.com/2012/06/08/facebook-app-center/
Facebook 推出自家的 App Center! 它們的 App Center 收錄了 600 多套推介 App,當中包括 Draw Something、Nike+ GPS、Jetpack Joyride 等不同類型的應用。
http://www.newmobilelife.com/2012/06/08/facebook-app-center/
12-06-2012
談到用戶最感到方便的 iOS 6 功能,Facebook 深度整合於 iOS 6 相信就是其中一項吧?現時,用家可以在 iOS 丨輕鬆分享相片、地圖位置到你的 FB。甚至不想動手輸入文字到 FB,只要用 Siri 以口讀出來即可。而 Facebook 的 Event 活動更可以結合於 iOS 的行事曆之中,這樣 FB 朋友的生日你就不會忘記了!最讚的就是 iOS 通訊錄功能也全面跟 FB 整合,對方在 FB 上的公司資料、電話、甚至相片連結起來!
http://www.newmobilelife.com/2012/06/12/ios6-facebook/
談到用戶最感到方便的 iOS 6 功能,Facebook 深度整合於 iOS 6 相信就是其中一項吧?現時,用家可以在 iOS 丨輕鬆分享相片、地圖位置到你的 FB。甚至不想動手輸入文字到 FB,只要用 Siri 以口讀出來即可。而 Facebook 的 Event 活動更可以結合於 iOS 的行事曆之中,這樣 FB 朋友的生日你就不會忘記了!最讚的就是 iOS 通訊錄功能也全面跟 FB 整合,對方在 FB 上的公司資料、電話、甚至相片連結起來!
http://www.newmobilelife.com/2012/06/12/ios6-facebook/
25-06-2012
Facebook for iOS 加入新功能了!平日我們要在一個社交場合裡問人拿 Facebook,有時逐一輸入實在太不便了!不過近日 FB for iOS 加入了 Find Friends Nearby 功能,要在同一個場合裡一次過新增大批人作為朋友變得超簡單!
http://www.newmobilelife.com/2012/06/25/fb-find-friends-nearby-tutorial/
Facebook for iOS 加入新功能了!平日我們要在一個社交場合裡問人拿 Facebook,有時逐一輸入實在太不便了!不過近日 FB for iOS 加入了 Find Friends Nearby 功能,要在同一個場合裡一次過新增大批人作為朋友變得超簡單!
http://www.newmobilelife.com/2012/06/25/fb-find-friends-nearby-tutorial/
27-06-2012
Facebook Messenger 1.8 版作出了不少更新,功能如下:(最「讚」的更新)
Facebook Messenger 1.8 版作出了不少更新,功能如下:(最「讚」的更新)
- 更快的載入、傳送、瀏覽速度。
- 容許用戶在通話之中加入朋友的朋友。
- 支援共享更大的相片,點按即可全螢幕檢視。
- 快速轉到不同的通話群組。
- 更可靠的 Push 推送提示。
- 容許用戶在通話之中加入朋友的朋友。
- 支援共享更大的相片,點按即可全螢幕檢視。
- 快速轉到不同的通話群組。
- 更可靠的 Push 推送提示。
28-06-2012
Facebook 正計劃將超慢的 iPhone App 重新設計,成為一套超快的 iOS App!新 App 全大多數也改用回 Objective-C 來編寫(現在很多是 HTML5)。測試過這套未推出 FB App 的人表示,外觀設計跟現時相約,但速度快很多!
http://www.newmobilelife.com/2012/06/28/facebook-new-app/
Facebook 正計劃將超慢的 iPhone App 重新設計,成為一套超快的 iOS App!新 App 全大多數也改用回 Objective-C 來編寫(現在很多是 HTML5)。測試過這套未推出 FB App 的人表示,外觀設計跟現時相約,但速度快很多!
http://www.newmobilelife.com/2012/06/28/facebook-new-app/
07-07-2012
Facebook 宣佈將與多間亞洲電訊公司合作,參與鋪設全長 1 萬公里的亞洲海底光纖網絡「亞太閘道」(APG),預期可改善 Facebook 在亞洲和美國之間的網絡通訊速度。APG 海底光纖網絡將連接馬來西亞和日本,並會有支線接駁至多個東亞和東南亞國家地區,包括香港、台灣宜蘭縣頭城、韓國釜山和新加坡等地,全長 1 萬公里。
http://www.newmobilelife.com/2012/07/07/facebook-apg/
Facebook 宣佈將與多間亞洲電訊公司合作,參與鋪設全長 1 萬公里的亞洲海底光纖網絡「亞太閘道」(APG),預期可改善 Facebook 在亞洲和美國之間的網絡通訊速度。APG 海底光纖網絡將連接馬來西亞和日本,並會有支線接駁至多個東亞和東南亞國家地區,包括香港、台灣宜蘭縣頭城、韓國釜山和新加坡等地,全長 1 萬公里。
http://www.newmobilelife.com/2012/07/07/facebook-apg/
24-08-2012
萬眾期待,iOS 用戶一直又愛又恨的 Facebook for iOS 終於推出全新 5.0 版本!這次 Facebook 是重新編寫,由以往 HTML5 為本改為 iOS 的 Objective-C 為本,因此速度大幅提升!不論是選單反應速度或是載入 Feed 的速度也快過從前十分之多!還等什麼?快來更新吧!
http://www.newmobilelife.com/2012/08/24/facebook-5-download/
萬眾期待,iOS 用戶一直又愛又恨的 Facebook for iOS 終於推出全新 5.0 版本!這次 Facebook 是重新編寫,由以往 HTML5 為本改為 iOS 的 Objective-C 為本,因此速度大幅提升!不論是選單反應速度或是載入 Feed 的速度也快過從前十分之多!還等什麼?快來更新吧!
http://www.newmobilelife.com/2012/08/24/facebook-5-download/
06-09-2012
不少人也估計 Facebook 收購 Instagram 後必有動作,早在 5 月時Facebook 正式推出 Facebook Camerea App 了!不過當時只限美國 iTunes 用戶下載,現在全球各地可以使用Facebook的地區也可以下載。
http://www.newmobilelife.com/2012/09/06/facebook-camera-download-2/
不少人也估計 Facebook 收購 Instagram 後必有動作,早在 5 月時Facebook 正式推出 Facebook Camerea App 了!不過當時只限美國 iTunes 用戶下載,現在全球各地可以使用Facebook的地區也可以下載。
http://www.newmobilelife.com/2012/09/06/facebook-camera-download-2/
12-09-2012
Facebook 之父 Mark Zuckerberg 出席 TechCrunch Disrupt conference 時表示,當天以 HTML 5 來設計 Facebook for iOS App 是一個很大的策略錯誤,Facebook 上月正式推出全新 iOS App,將 HTML 5 改為以 Objective-C 作 Native iOS App,速度大幅提升,用戶評價甚高。
http://www.newmobilelife.com/2012/09/12/facebook-app-html5-big-mistake/
Facebook 之父 Mark Zuckerberg 出席 TechCrunch Disrupt conference 時表示,當天以 HTML 5 來設計 Facebook for iOS App 是一個很大的策略錯誤,Facebook 上月正式推出全新 iOS App,將 HTML 5 改為以 Objective-C 作 Native iOS App,速度大幅提升,用戶評價甚高。
http://www.newmobilelife.com/2012/09/12/facebook-app-html5-big-mistake/
29-09-2012
Facebook Messenger 推 2.0 新版,加入了在任何地方向左滑動即快速看到誰在線上的功能可以加入你經常發訊息的對像到你的收藏夾頂部。此外,這次使用了新設計的對話介面,還改進了速度及可靠性。
http://www.newmobilelife.com/2012/09/29/facebook-messenger-2-update/
Facebook Messenger 推 2.0 新版,加入了在任何地方向左滑動即快速看到誰在線上的功能可以加入你經常發訊息的對像到你的收藏夾頂部。此外,這次使用了新設計的對話介面,還改進了速度及可靠性。
http://www.newmobilelife.com/2012/09/29/facebook-messenger-2-update/
06-11-2012
Facebook 推出 5.1 新版本,當中提供了析功能,例如方便上載多幅相,也能常用的朋友加入我的最愛,以後要找人就更方便了。
http://www.newmobilelife.com/2012/11/06/facebook-5-1-update/
Facebook 推出 5.1 新版本,當中提供了析功能,例如方便上載多幅相,也能常用的朋友加入我的最愛,以後要找人就更方便了。
http://www.newmobilelife.com/2012/11/06/facebook-5-1-update/
16-11-2012
最新 5.2 終於可以 tag(標籤)朋友,也可以在手機上分享他人的貼文,筆者期待已久
http://www.newmobilelife.com/2012/11/16/facebook-5-2-update/
最新 5.2 終於可以 tag(標籤)朋友,也可以在手機上分享他人的貼文,筆者期待已久
http://www.newmobilelife.com/2012/11/16/facebook-5-2-update/
26-11-2012
Facebook 為了讓員工加緊關注 Android,所以展開了 “Droidfooding: 計劃,在 Facebook 總部的 Menlo Park 可看到2幅海報,顥示 IDC 預測 Android 的出貨量會大幅增長一倍,而 iOS 只會穩定增長,從而叫 Facebook 員工加強 Android 方面的留意。
http://www.newmobilelife.com/2012/11/26/facebook-droidfooding-change-to-android/
02-12-2012
Facebook 的手機相片同步功能正式開放,用手機拍照會立即自動上載到 FB!
http://www.newmobilelife.com/2012/12/02/facebook-photo-sharin/
Facebook 的手機相片同步功能正式開放,用手機拍照會立即自動上載到 FB!
http://www.newmobilelife.com/2012/12/02/facebook-photo-sharin/
03-12-2012
據內情人士透露,WhatsApp目前已經與 Facebook 談判相關收購事宜,正在商討交易價格及其他細節。
http://www.newmobilelife.com/2012/12/03/facebook-whatsapp/
據內情人士透露,WhatsApp目前已經與 Facebook 談判相關收購事宜,正在商討交易價格及其他細節。
http://www.newmobilelife.com/2012/12/03/facebook-whatsapp/
14-12-2012
Facebook for Android 也推出 2.0 版本,用家表示 開啟和載入速度和上一版本相比,簡直是完全不同的層次!在下拉更新和開啟側邊欄的時候,更明顯的感覺到不同。
http://www.newmobilelife.com/2012/12/14/android-facebook-app-2-0/
http://www.newmobilelife.com/2012/12/14/android-facebook-app-2-0/
14-12-2012
Facebook 推出了 5.3 新版上載照片時會較容易,能夠讓你指定要上傳到哪本相冊之中。
http://www.newmobilelife.com/2012/12/14/facebook-5-3-update/
Facebook 推出了 5.3 新版上載照片時會較容易,能夠讓你指定要上傳到哪本相冊之中。
http://www.newmobilelife.com/2012/12/14/facebook-5-3-update/
【教學】保障私隱!為你的文件夾及應用程式上鎖!
相信 JB 用戶對 Lockdown 和 iProtect 不會感到陌生,它是為應用程式上鎖的插件。筆者在此再向大家推薦兩款,Icon Passcode 和 Folder Passcode 是新上架的 Cydia 插件,功能同樣是為指定的應用程式或文件夾加上密碼保護,以防外人偷看加密內容,而且兩款插件同樣兼容 iOS 6!
需要的站友可以到 ModMyi 源 (http://apt.modmyi.com) 搜尋 Icon Passcode / Folder Passcode 免費下載,安裝完成重啟 Springboard 後可以到設定裡設置新密碼及指定應用。(Folder Passcode 為上鎖文件夾;Icon Passcode 為上鎖個別應用)。
Folder Passcode 使用方法:
當在設定裡設置了新密碼後,就可以回到主畫面,然後長按任何一個圖示進入編輯模式 (所有Icon 不斷震動),重新命名要上鎖的文件夾名稱為 “[lock]” (須包括括號)然後按下 Done 就能成功鎖上文件夾了,要解鎖就命名為 “[unlock]”。(重新命名並不會影響原來文件夾的名稱)
注意:經筆者測試後,當設置 Folder Passcode 時,如果你的 iOS 裝置同時有安裝 FolderEnhancer 並關閉了 “Show Name”,是不能夠完成上鎖程序的,要解決只需要重新打開 “Show Name” 一項即可。安裝時亦會一併安裝 WinterBoard 主題插件。
挑戰 iPad mini!Galaxy Note 7 規格曝光!
Android 平板以 Nexus 7 為最多人選用的平板,不過 Samsung 似乎有意將 Galaxy Note 7 推出,而之前 Galaxy Note 平板是 10.1,現在看來有意攻 7 吋平板的市場了。在著名 Benchmark 網站 GLBenchmark 中已有 Note 7 的資料出現!當中顯示 Galaxy Note 7 使用 Exynos 4412 4 核1.6GHz 處理器,而解像度為 1280 X 800,使用 Android 4.1.2。
Acer 高層指 Windows 8 需求比預期更慘淡!
Windows 8 推出後,Microsoft 表示第一天賣出 400 萬份,而一個月後達到 4000 萬之多。不過,PC 廠商可能感受不半點好處,來自紐約時報的消息,他們訪問 Acer 美國分部的總裁 Emmeanuel Fromont,他表示 Windows 8 的起步十分緩慢,更說 PC 的銷量比之前的預測更慘淡!分析員 Stephen Baker Windows 8 銷售如此慢的原因是舊的 Windows 用戶需要時間學習操控 Windows 8,另外銷費者情願買 iPad,推遲電腦升級的計劃。
JB 難上加難!iOS 6.1 已加嚴格保護!
曾經發佈 iOS 4.3.2 完美越獄的知名黑客 i0n1c 今天在 Twitter 貼文表示「雖然 iOS 6 的越獄還未發佈,但在 iOS 6.1 beta 版中已經發現蘋果已經為其增加了更嚴格的保護。」
目前開發者是透過 Kernel Exploit (內核漏洞) 及 Userland Exploit (用戶態漏洞) 達到 “Failbreak” (並公開的越獄,從中尋找其他可用漏洞)。蘋果在 iOS 6.1 beta 3 已經封死了在 iOS 6.0.1 能用的內核漏洞,如果蘋果在 iOS 6.1 正式版中也修復了那個 Userland Exploit 漏洞的話,想越獄可說是難上加難了!
訂閱:
文章 (Atom)